Vor ziemlich genau einem Jahr gab es bereits Patently Apple berichtet.
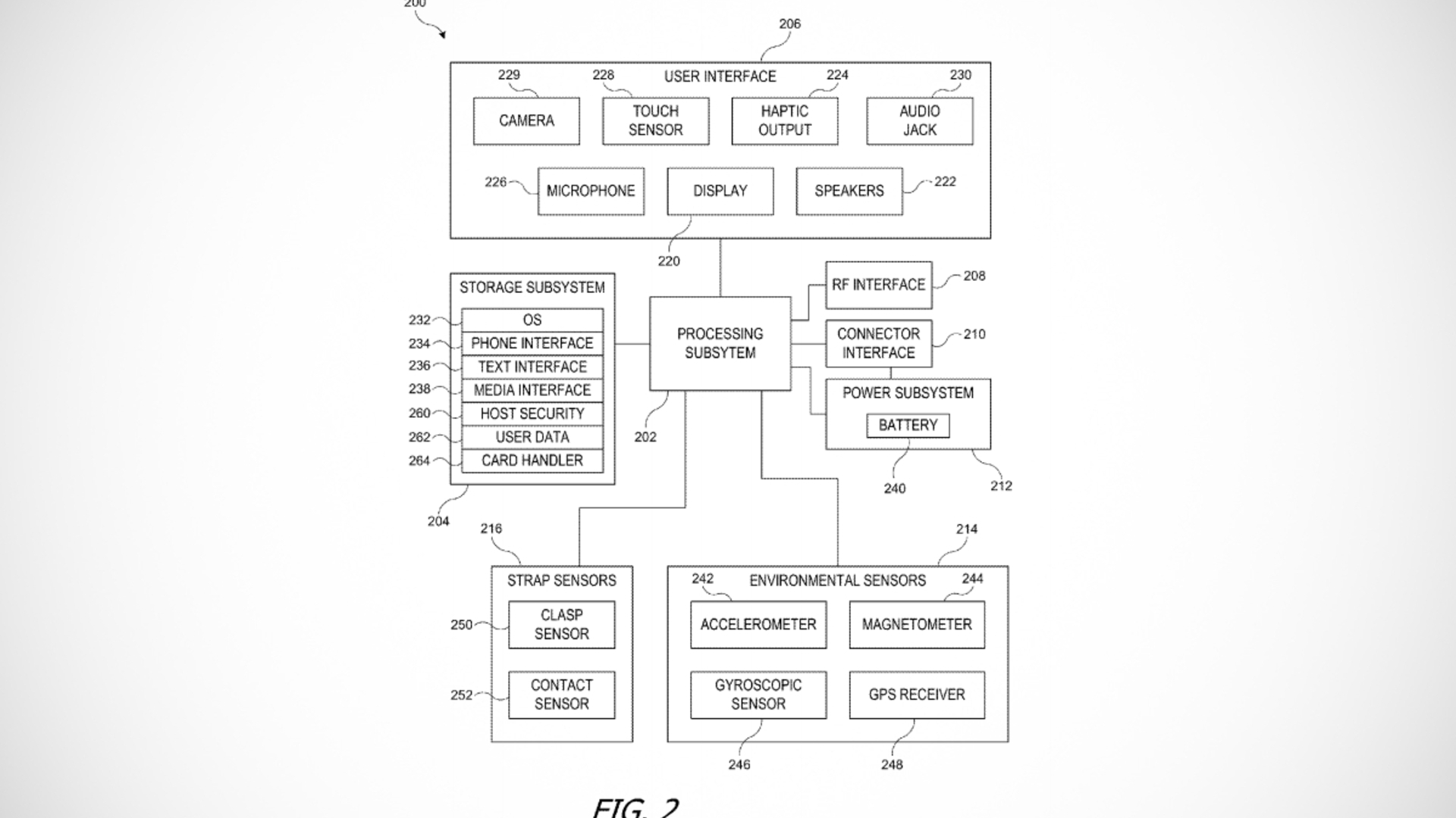
Eigentlich dreht sich das frisch veröffentlichte Patent überhaupt nicht um die Apple Watch 2 oder Kameras, sondern um die Verwendung von Ortsdaten mit Mobilgeräten. Dennoch enthält die Beschreibung einen Teil, in dem der Aufbau eines Wearables und das Zusammenspiel der enthaltenen Einzelteile beschrieben werden – und genau hier findet sich auch der Hinweis auf die Kamera.
Auflösung folgt im September
Der Beschreibung zufolge soll die erwähnte Kamera der in einem Smartphone ähneln und sowohl Fotos als auch Videos aufnehmen können. Offenbar sieht das Patent auch vor, dass die Kamera dieser zukünftigen Apple-Smartwatch sowohl nach hinten als auch nach vorne ausgerichtet werden kann. Auf diese Weise könne der Nutzer beispielsweise Barcodes scannen – aber auch Selfies aufnehmen.
Ob die Apple Watch 2 wirklich eine Kamera mitbringt, erfahren wir vermutlich erst im September, wenn das Wearable gemeinsam mit dem iPhone 7 vorgestellt wird. Sollte das Feature wirklich enthalten sein, wäre zu wünschen, dass Apple auch die Akkulaufzeit erhöht. Erfahrungsgemäß verbraucht die Kamera vergleichsweise viel Energie.
Transparenz:Wir verwenden sog. Affiliate-Links. Kauft ihr etwas, erhalten wir ggf. eine Provision. Ihr zahlt dafür keinen Cent extra, unterstützt aber die Arbeit der CURVED-Redaktion.
 
                             
                             
                             
    