iPhone 7 mit gebogener Glasummantelung und neuer Entsperrfunktion?

Könnte das iPhone 7 bereits so aussehen wie diese Idee von Apple?
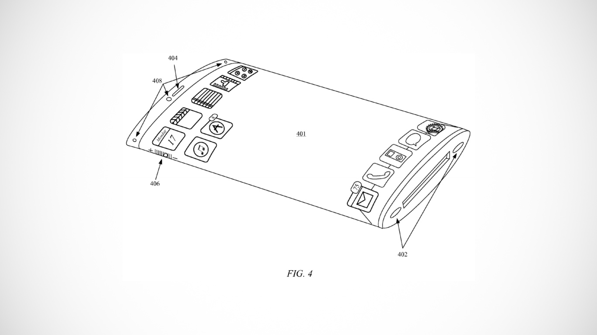
Könnte das iPhone 7 bereits so aussehen wie diese Idee von Apple? (© 2015 USPTO )
68

Wird das iPhone 7 ein vollkommen neues Design erhalten? Zumindest wurde nun eine weitere Hürde auf dem Weg zu einem rundum erneuerten Gehäuse für das nächste High-End-Smartphone von Apple aus dem Weg geräumt. Wie PatentlyApple berichtet, hat die US-Patentbehörde nämlich ganze 28 Patentanträge des Unternehmens abgenickt.

Die Anträge beschreiben unterschiedlichste Funktionen, Designs und Technologien, die zum Teil in einem zukünftigen Smartphone wie dem iPhone 7 Anwendung finden könnten. Eine besonders spannende Idee, die bereits vor langer Zeit von Apple eingereicht wurde, enthält auch eine Skizze von einem Smartphone, das bis auf Ausschnitte an den Enden vollständig von gebogenem Glas ummantelt ist. Auch die Form des Geräts entspricht nicht der des iPhone 6s. Im Gegensatz zur flachen Bauweise des aktuellen Modells ist der Körper des skizzierten iPhones im Querschnitt oval.

Verschwindet der Home-Button?

Wie auch schon Curved-Chefredakteur Felix in seinem ausführlichen Test zum iPhone 6s wettet, könnte beim iPhone 7 der Home-Button verschwinden – und genau dies sieht offenbar der Patentantrag zum Smartphone im Glasmantel-Gehäuse vor. Ein Home-Button ist nicht mehr zu sehen, und sogar die Hardware-Tasten zur Regelung der Lautstärke sind verschwunden. Das Patent sieht stattdessen vor, dass das Display vollständig um den Corpus des Smartphones herum verläuft. Tasten könnten so als On-Screen-Buttons eingeblendet werden. 3D Touch könnte dafür sorgen, dass die Buttons des vermeintlichen iPhone 7 wirklich nur dann reagieren, wenn sie fest und beabsichtigt betätigt werden.

Ein weiterer Patentantrag behandelt einen neuen Entsperrmechanismus, der interessanterweise stark dem Gesten-Passcode von Android-Smartphones ähnelt. Apple fügt allerdings eine Abfrage des Fingerabdrucks während der Eingabe des Musters hinzu, um die Methode noch sicherer zu machen. Dafür müsste das Display allerdings direkt den Fingerabdruck überprüfen können – und das ist frühestens mit dem iPhone 7 möglich.

Auch interessant

Wie findet ihr das? Stimmt ab!

Transparenz:Wir verwenden sog. Affiliate-Links. Kauft ihr etwas, erhalten wir ggf. eine Provision. Ihr zahlt dafür keinen Cent extra, unterstützt aber die Arbeit der CURVED-Redaktion.