Google-Gründer Larry Page baut fliegende Autos

Zee.Aero Prototyp
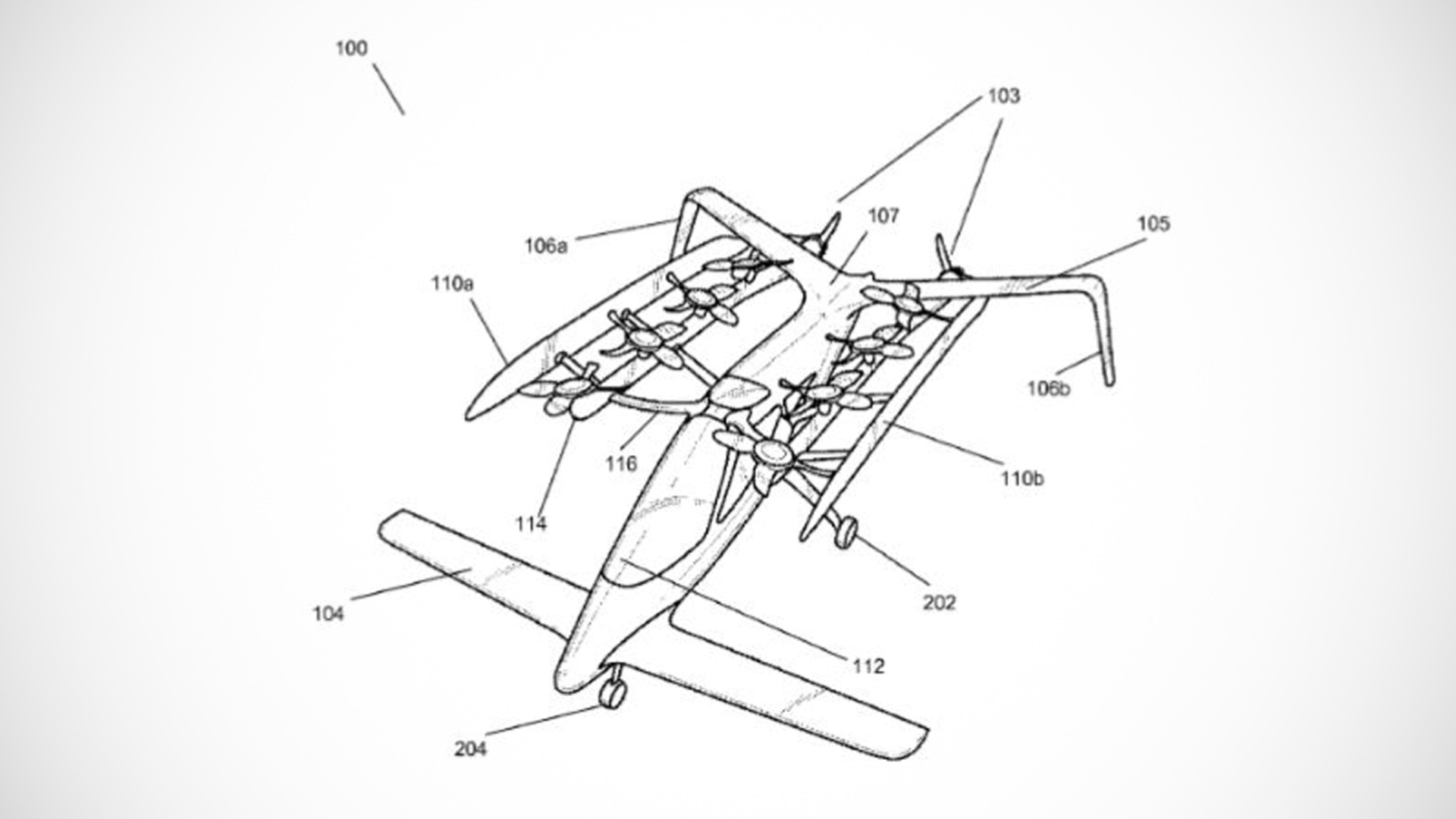
Zee.Aero Prototyp (© 2016 United States Patent & Trademark Office )
6

In Zukunft findet der derzeitige Straßenverkehr in der Luft statt – zumindest, wenn es nach Larry Page geht: Der Google-Mitbegründer soll bereits seit mehreren Jahren mit der Entwicklung von fliegenden Autos beschäftigt sein. Zu diesem Zweck habe Page in mehrere Start-up-Unternehmen investiert.

Schon im Jahr 2010 gründete Larry Page das Unternehmen Zee.Aero, berichtet Bloomberg; seit 2015 habe er zudem Geld in das Start-up Kitty Hawk gesteckt. Beide Unternehmen entwickeln offenbar fliegende Autos und haben bereits eine Vielzahl an Patenten in diesem Bereich angemeldet. Dabei arbeiten die Unternehmen offenbar getrennt voneinander. Zee.Aero teste seine Prototypen auf einem kleinen Flughafen, der sich in der Nähe von Googles Mountain View-Hauptquartier befinden soll.

"Der Typ da oben"

Dazu gehöre zum Beispiel das Modell TF-X, das im Jahr 2026 einsatzbereit sein soll. Das Fluggerät, das vom Design her entfernt an ein Lande-Shuttle aus Star Trek erinnert, soll vier Personen über eine Entfernung von bis zu 500 Meilen transportieren können. Die Höchstgeschwindigkeit beträgt angeblich 200 Meilen pro Stunde, der Preis 120.000 Dollar. Zee.Aero habe in den vergangenen Jahren eine Vielzahl an Ingenieuren eingestellt, die zuvor bei der NASA, Boeing oder SpaceX beschäftigt waren.

Die meisten der Prototypen sehen allerdings eher aus wie kleine Flugzeuge oder große Quadrocopter – und würden laut Bloomberg zwar als Fluggerät taugen, als Auto hingegen nicht. Seit Jahrzehnten würde in diesem Bereich geforscht, ohne dass bisher nennenswerte Ergebnisse vorzuweisen sind. Larry Page entwickle fliegende Autos aus persönlichen Motiven heraus und soll ein Büro in einer der beiden Firmen besitzen. Die Mitarbeiter reden angeblich von ihm als "GUS", was für "the guy upstairs" stehen soll. Übersetzt bedeutet dies so viel wie "Der Typ da oben".

Auch interessant

Wie findet ihr das? Stimmt ab!

Transparenz:Wir verwenden sog. Affiliate-Links. Kauft ihr etwas, erhalten wir ggf. eine Provision. Ihr zahlt dafür keinen Cent extra, unterstützt aber die Arbeit der CURVED-Redaktion.